硬 管 管 路 的 正 確 布 置
安裝布置硬管管路時,應注意下列幾點:
1、鋼管長度要短,管徑要合適,流速過高會損失能量。
2、兩固定點之間的連接,應避免緊拉,須有一個松彎部分。如圖所示,以便于裝卸,也不會因熱脹冷縮而造成嚴重的拉應力。 |
 |
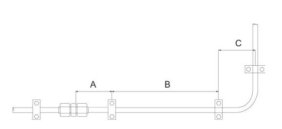
3、鋼管的彎管半徑應盡可能大,其最小彎管半徑約為鋼管外徑的2.5倍。管端處應留出直管部分,其距離為管接頭螺母高度的二倍以上。如圖所示
4、硬管的主要失效型式為機械振動引起的疲勞失效,因此當管路較長時,需加管夾支撐,不僅可以緩沖振動,還可減少噪音。在有彎管的管路中,在彎管的兩端直管段處要加支撐管夾固定,在與軟管連接時,應在硬管端加管夾支撐。管夾間距推薦如圖
5、避開障礙物時不要使用太多的90度彎曲鋼管,流體經(jīng)過一個90度的彎曲管的壓降比經(jīng)過兩個45度的彎曲管還大。如圖
6、布置管路時,盡量使管路遠離需經(jīng)常維修的部件。如圖
7、管路排列應有序、整齊,便于查找故障、保養(yǎng)和維修。如圖

作者:中國塑料機械網(wǎng) 來源:中國塑料機械網(wǎng)信息中心
相關文章